VW-Bus T2
Beim Auswechseln der Lenkhebelbuchse nicht wie im Handbuch vorgeschlagen rein- und raushämmern.
Mit einer Gewindestange und geeigneten Stecknüssen lassen sich die Buchsen sehr gut heraus- und hereinziehen.
(ggf. Lenkungsdämpfer demontieren, um den Umlenkhebel besser aus dem Weg bewegen zu können)
Die folgenden Bilder zeigen das Herausziehen der alten Buchsen:


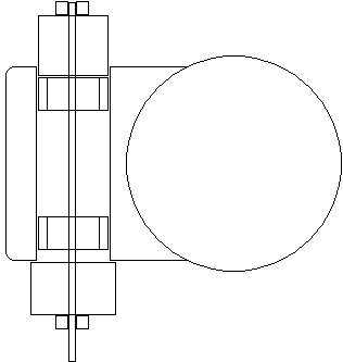
Beim Einziehen verhindert eine Kronenmutter der Hinterachse (o.ä.) das Verkanten und Verkippen der Buchse:


Spur-Einstellung
Sturz-Einstellung
Lenkgetriebe
Zündschloß T2a (bis Bj. 73), Lenksäule, Betätigung der Hupe
Lenkrad abziehen beim T2a, bis ca. 5/74
Modellaenderungen Vorderachse und Lenkung V
Übersicht Reparaturhinweise zum VW-Bus
zu meiner VW-Bus-Seite
zu meiner homepage
Autor: Michael Knappmann
Copyright © 1998 Michael Knappmann,
All rights reserved.
Letzte Modifikation: 08.11.2000
Erstmals erstellt: 12.10.1998