Hohlraumversiegelung VW-Bus T2

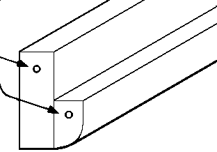
Abschlußträger vorn, ggf. Deformationselement: an der linken Seite des Deformationselements ist eine Öffnung vorhanden, außerdem vorne zwei (nur bei abgenommener Stoßstange sichtbar, evtl. Stoßstange entsprechend durchbohren. Bei späteren Baujahren außerdem zwei große Öffnungen des Abschlußträgers bei entfernter Bodenwanne / Abdeckblech Fußhebelwerk erreichbar.
A-Säule: an der Außenwand ist eine Bohrung vorhanden, bei geöffneter Tür erkennbar. Außerdem zwischen A-Säule und Frontblech (evtl. Verkleidung vorn im Fußraum demontieren):

Türholm: Langlöcher vorne unten an der Innenwand. Evtl. B-Säule durchbohren:

Tür
Türsäule: 
Die B-Säulen besitzen an der jeweiligen Innenwand ein Langloch, links evtl. durch Verkleidung verdeckt. Das Innere von B- und C-Säule ist auch über die Sicherheitsgurt-Gewinde erreichbar.
Laderaumtür, Seitenteile
Motorraum: 
Hecktür, Querträger, Motorraum:
Rahmenträger vorn
Rahmenversteifung
Türschweller:
.....
Längsträger: wo die Längsträger vom offenen Profil ins geschlossene übergehen hineinsprühen. (vgl. Längsträger hinten). Die hinteren Längsträger besitzen an der Rückwand rechts und links unterhalb der Motorraumklappe weitere Bohrungen. (siehe Bild oben)
Querträger:
(Bei neueren Baujahren ist das Bodenblech des Querträgers entfallen, so daß dort kein Hohlraum mehr entsteht.)
Die Außenwand des hinteren Radkastens bildet einen Holhlraum. An der Innenwand, also vom Radkasten her zugänglich befinden sich drei Bohrungen.
Das Bild zeigt quer zur Fahrtrichtung auf der linken Seite den Laderaumboden, darunter den Querträger, darunter die Wagenheberaufnahme, links den linken Außenschweller und die C-Säule.

An der durch den Pfeil gekennzeichneten Stelle Außenwand und Säule durchbohren.
Die Sitzschienen für Fahrer- und Beifahrersitz (nur Einzelsitze) bilden ebenfalls einen Hohlraum.
Der Boden des Tankraumes kann durch die hinteren mittleren Sicherheitsgurtschrauben erreicht werden, oder, falls der Tankgeber schon mal ohne Motorausbau ausgewechselt wurde, durch den Kofferraumboden (Tankgeber)
Der Querträger zwischen Geräteraum und Kofferraum ist von der Motorseite durch zwei Langlöcher erreichbar. Hier ist die Konservierung besonders dazu notwendig, damit man die Schrauben der Klappe auch später noch lösen kann.

Nachträgliche Bohrungen unter den Vordersitzen ermöglichen es, den Vorderachskärper bequem von oben mit Korrosionsschutzmitteln zu füllen.
TM A-130 Unterbodenschutz- und Hohlraumkonservierungensmaterialen
Hohlraumkonservierung Typ 2, Gruppe S13, März 1972
Übersicht Rost
Längsträger vorn
Längsträger hinten
weitere technische Hinweise zum VW-Bus
zu meiner VW-Bus-Seite
zu meiner homepage
Autor: Michael Knappmann
Copyright © 1998 Michael Knappmann,
All rights reserved.
Letzte Modifikation: 14.02.2007
Erstmals erstellt: 05.10.1998